卡尺Caliper
尖端測砧卡尺
產品編號
536 / 573系列
536系列 尖端測砧游標卡尺
|
三豐編號
|
測定範圍 | 解析度 | 牌價金額 |
|
536-121
|
0 ~ 150mm | 0.05mm | 8,460 |


573系列 尖端測砧數位卡尺,防水防塵效能:IP 67
|
三豐編號
|
測定範圍 | 解析度 | 測鉆長度 | 牌價金額 |
|
573-721
|
0 ~ 150mm | 0.01mm | A | 15,770 |
|
573-725
|
B | 21,340 |

![]() 樣式A
|
![]() 樣式B
|
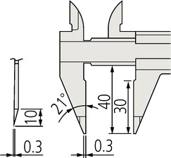
![]() |
|
| 回頁首 | 配件 |
配件
| 產品 |
三豐編號
|
規格 | 牌價金額 |
| SPC線 | 05CZA624 | 1m | 5,820 |
| 05CZA625 | 2m | 6,160 | |
| 06ADV380A | 2m | 7,880 |
![]() |
|
二. USB 輸出插腳的信號連接線
![]() |
|
詳細資料:資料輸出系統
本網頁僅做參考,如有差異,依實物為準,實際售價亦請來電詢問。
點擊以下圖片,可進行目錄下載。













